


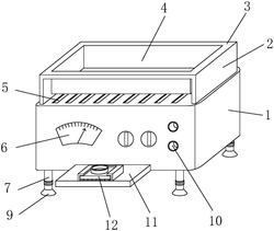
专利号:2021211809513本实用新型公开了一种电容器断路检测仪,包括外壳,外壳的顶端固设有侧立板,侧立板对称设置有两组,两组侧立板间共同连接有框板,框板形成有下沉式的收纳箱;外壳的前侧底端固连有水平设置的固定平台,固定平台上安装有用于电容器放置的置放机构。本新型无需手扶电容器进行检测操作,可实现高效的检测;同时,可根据该批次待检测电容器的具体情况灵活更换置放机……【详细】

专利号:2020212650410本实用新型公开了一种低热阻汽车电池组管理系统滤波薄膜电容器,它包括外壳、灌封环氧层、一号铜排电极、二号铜排电极和电容芯子组;电容芯子组包括电容芯子,电容芯子沿上下方向依次排列;一号铜排电极上具有一号散热片,一号散热片沿上下方向均匀设置,二号铜排电极上具有二号散热片,二号散热片沿上下方向均匀设置,一号散热片和二号散热片沿上下方向交替设置……【详细】

专利号:2020211172820本实用新型公开了一种镀膜机纠偏控制装置,涉及控制装置领域,针对现有的因卷材卷绕错位和转动时位置跑偏等原因,使得镀膜容易出现不良品的问题,现提出如下方案,其包括底板,所述底板的顶端固定连接有支架,且所述支架呈竖直向上装,所述支架关于底板呈对称分布,且所述支架的顶端一侧开设有圆孔,所述圆孔贯穿于支架,且所述圆孔内滑动套接有活动轴,所述活动……【详细】

版权所有:威海惠诚知识产权代理有限公司鲁ICP备16008176号后台管理
地址:山东省威海市环翠区城阳路36号B座605电 话:0631-5166712传 真:0631-5166710技术支持:中威网络